发布时间:2026-01-28 11:29:29作者:up浏览次数:次
石灰石圆振动筛是一种可以广泛用在石灰石生产线上的一款设备,通过振动电机产生的激振力,使筛箱带动筛网进行圆形的轨迹去振动。石灰石在筛面上不断的向前运动,小于筛孔的物料穿过筛孔被筛分,大于筛孔的物料从出料口排出。它的筛分效率比较高,处理量大,能够广泛用在多个行业。材质能够选择碳钢或者不锈钢材质,圆振动筛可以做单层也可以做双层,可以根据需要去加以定制。

石灰石圆振动筛的优势是什么?
石灰石圆振动筛筛分效率比较高,能快速将石灰石按颗粒大小分层。石灰石常含粉末与不同规格碎石,该筛机可使物料充分被分散。它还可以处理含水的石灰石,圆振动筛的振动频率和倾角都是可以调整的,能有效防止湿料粘附到筛网上,可以减少堵塞筛孔的次数。灰石的磨蚀性强,圆振动筛的结构坚固,主要部件筛箱可以采用厚钢板,筛网可以选则耐磨的材质,使用寿命会延长。它的处理量也很大,一定的时间内可以筛分很多物料。

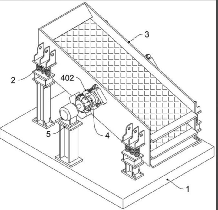
石灰石圆振动筛的结构是什么?
石灰石圆振动筛主要是由筛箱、振动电机、筛网、支承装置和底座构成。筛箱是一个由钢板焊接成的箱体。箱体内安装有筛网,石灰石就在筛箱内被筛分。振动电机可以有一台或者多台,一般是安装在筛箱的两侧。

筛网是安装在筛箱内,可以是单层或多层。支承装置就是设备中的弹簧,用来支撑筛箱的重量,并且可以吸收振动。底座是用来固定整个设备,用于稳定支撑整个振动部分。

石灰石圆振动筛的应用有哪些?
石灰石圆振动筛除了可以用来筛分石灰石,还可以用在多个地方。像在采矿中,这台设备可以用来筛分煤炭、铁矿石、铜矿等。在建筑中,,它可以用来筛分沙子、石子、水泥原料等。筛分后,沙子和小石子的大小均匀,用来拌混凝土会更加牢固。在化工行业中,可以用来筛分化肥、塑料颗粒、化学粉末等,筛分后颗粒会更均匀。在其他方面还可以用来筛分小麦、大米、糖、药粉、金属粉末等各种不同的物料。

石灰石圆振动筛的厂家
生产石灰石圆振动筛的厂家多种多样,像我们厂家,我们厂有着丰富的经验,不仅有提供石灰石圆振动筛,还有生产大型圆振动筛,矿用圆振动筛,单层圆振动筛,双层圆振动筛等等。每小时的产量可以达到80到620吨。对于不同物料可以配置不同的设备。

石灰石圆振动筛不同型号的参数
石灰石圆振动筛有YA和YK两种系列

